호출 예약
호출 내역
추천 내역
신고
1주일 보지 않기
카카오톡 공유
https://instiz.net/pt/6418827
주소 복사
상세 검색
카테고리
기간
시간순
조회순
추천순
댓글순
스크랩순
~
기간 탐색
회원가입
이용 방법·규칙
ID 저장
자동 로그인
HOT
이슈
일상
연예
드영배
장터
픽션
공포
뷰티
스터디
iChart
출석체크
게임
변경
인기글
글 5개 올리고 댓글 10개만 받으면
네이버페이 5천원을 드려요 (~2/28)
l
공지가 닫혀있어요
l
열기
필터링
전체 게시물 알림
이슈
유머·감동
이슈·소식
유머·감동
정보·기타
팁·추천
할인·특가
뮤직(국내)
고르기·테스트
이슈
오싹공포
혹시 미국에서 여행 중이신가요?
여행
l
외국어
l
해외거주
l
해외드라마
아이폰 후속 모델에서는 후면 로고에 불 들어올수도
21
6년 전
l
조회
10886
출처
인스티즈앱
이 글은 6년 전 (2019/10/01) 게시물이에요
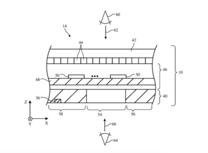
맥북에 있다가 없어진 로고 조명 다시 생길수도
갤럭시에 있는 상태 표시 조명과 비슷한 활용 예상
요런거
연관글
생활속 아이디어 상품들.jpg
1
쿵쾅이들에게 선전포고하는 ㅊㅈ ㅎㄷㄷ
엄지척
제발..그만...
6년 전
Hxethjib
헐 해주세요
6년 전
Hxethjib
잠깐만 배터리를 많이 잡아먹을 거라면 하지 마
6년 전
아 힘들어 피곤해 배고파 졸려
애플은 항상 특허 많이 내고 실제 제품에 들어가는 건 소수... 솔직히 쓸모 없을 거 같아서 안 들어갈 듯요
6년 전
Cat
오 쓸데없는데
6년 전
숀더쉽
됐고 카메라나 좀 어떻게 해주세요...
6년 전
넘어가겠다냥
애플페이나 해주세요
6년 전
HELP
어떤약을먹고누워야잠이들수있을까
맥북엔 없애놓구 ..?
6년 전
DeleAlli
흐즈므
6년 전
이 태준
태빡이
그만해...
6년 전
최병찬♡
이뿌겠다
6년 전
배고픈데 잠이안와
어차피 케이스 낄껀데:.:?
6년 전
스치면 친등
맞등해주쎄요ღ
구만해..ㅠㅠ
6년 전
댕댕구
됐어,,
6년 전
前夜
전야
맥북에 다시 넣어줘요
6년 전
마젠타 시안 옐로
BTS-sea
로고가 번쩍거리면 과연 좋은 점은....?
6년 전
wooon
그만...
6년 전
윙야
( ͡° ͜ʖ ͡°
엇 안돼.. 몰폰 들킨다말야
6년 전
허재가 농구허재
가격 좀 내려주세요...
6년 전
밤이 깊어지면 너와 하늘을 봐
하지 마세요
6년 전
홍시영은홍시싫어해
왜요 진짜 예쁠거같은데 ??????
6년 전
로그인
후 댓글을 달아보세요
이런 글은 어떠세요?
'차 받치고 와' 이거 무슨 뜻 같아?
일상
"박나래 '나비약' 나도 먹어봤다, 마약 같아 끊는 데 6주" 의사 고백
이슈 · 2명 보는 중
AD
저 네모 안에 공을 넣는 거야? 했다가 야빠 친구가 고함지름.twt
이슈 · 3명 보는 중
AD
취업 안하는 딸 때문에 죽을 맛이라는 엄마
이슈 · 10명 보는 중
배우 박정민 실제 카톡 모음ㅋㅋㅋㅋㅋ.jpg
이슈 · 3명 보는 중
AD
탈북 성공하면 196억 상속받는 남매
이슈 · 4명 보는 중
AD
저가 카페 사장님이 말하는 폐업하는 이유
이슈 · 1명 보는 중
ai 먹방 근황.gif
이슈 · 5명 보는 중
AD
회사에 청첩장 돌리기 너무 어렵다 ㅜㅜ..
이슈 · 4명 보는 중
1989년 일본 히로히토 천황 사망 당시 청소년들 반응
이슈
AD
요즘 MZ들에게 공무원 추천하는 충주맨.jpg
이슈 · 3명 보는 중
너무 야박하다vs진상이다
이슈
현재 서로 충격받고있는 도쿄 매머드커피 상황..JPG
이슈 · 3명 보는 중
와 X는 진짜 심연이구나...
일상 · 7명 보는 중
AD
AD
다섯 쌍둥이를 출산한 151cm 엄마
이슈 · 3명 보는 중
사주를 안믿는 물리학자한테 빡친 점술가
이슈
전체
HOT
댓글없는글
이슈·소식
l
저가커피 중에 압도적으로 맛있다는 브랜드..JPG
270
유머·감동
l
82년생김지영 내용이 제정신이 아닌 이유
250
이슈·소식
l
(🔞약후) 요즘 잘생겼다고 반응 좋은 인플루언서들..JPG
198
이슈·소식
l
현재 모르는 사람 많다는 라떼 = 우유..JPG
121
이슈·소식
l
😡😡찐따들은 제발 여행갈거면 얌전히 가줬으면 하는 글
131
이슈·소식
l
충격적인 전지현 최근 근황
174
이슈·소식
l
11살 아들을 알몸으로 쫓아냈던 부모.jpg
87
정보·기타
l
허경환이 마흔 넘어서 깨달은 후회
134
이슈·소식
l
레이디두아에서 사라킴이 성공시킨 부두아 백
74
이슈·소식
l
현재 난리난 유명 틱톡커 한국응급실 거절..JPG
81
정보·기타
l
역류성식도염 식후 기본 자세.jpg
56
정보·기타
l
의외로 은근히 많다는 유형
49
이슈·소식
l
현재 손종원 셰프가 너무 싫다는 여시회원..JPG
40
유머·감동
l
한국의 이상한 주차문화
35
이슈·소식
l
애국가 4절까지 부른다는 오뚜기 사내문화..JPG
36
미방영된 애드립으로 뽀뽀하는 이세영x나인우
10:14
l
조회 559
코성형하고 왔는데 언니가....jpg
10:13
l
조회 865
'경대'하면 떠오르는 대학은?
4
10:12
l
조회 401
탕수육을 시켰는데 여사친이 이렇게 하면?
10:10
l
조회 663
또 레전드 찍은 오늘자 카리나
10:10
l
조회 894
충주맨이 가는 자리 군대로 비교
10:09
l
조회 712
얼마 안 남은 한국 예능의 신기원ㅋㅋ.JPG
10:09
l
조회 757
인상, 외모 보고싶으면 면접에서 보지 사진 보내라
9:35
l
조회 8722
중고에서 5에 업어왔어요ㅋㅋㅋ
9:25
l
조회 2569
INFP들 가슴 철렁이는 짤
8
9:18
l
조회 9624
남들은 재미있게봤지만 본인기준엔 재미없던 영화는?
8
9:16
l
조회 1059
요즘 카리나랑 견줄 수 있다는 닝닝 비주얼
9:14
l
조회 1873
닉값 잘하는 치어리더
9:12
l
조회 575
뒷문에 리트리버가 버려져 있습니다
9:09
l
조회 1738
사물·동물 그림
추가하기
더보기
펭귄 몇장 그려봤다요
3
친절한 친절양
14
도라도라에몽
2
곰
토끼인듯 강아지인듯
내가 그린 기린 그림 헿
[F1] 이번에는 매우 참신한(?) 리어윙을 가져온 페라리.gif
9:08
l
조회 238
생양배추 먹어본 여시?
9:08
l
조회 492
외국인이 착각하는 한국인의 피부색.jpg
9:07
l
조회 3053
l
추천 1
아무데서나 오줌 싸는 매미
1
8:26
l
조회 1126
청각을 잃은 베토벤이 만든 인류 역대 최고의 음악.shorts
8:24
l
조회 501
흙수저 집안 특징이라고 올라온 짤
7
8:15
l
조회 11912
l
추천 3
더보기
1
2
3
4
5
6
7
8
9
10
다음
이슈
일상
연예
드영배
10:38
1
"구독자 떨어져 급히 올린 영상”…충주맨 후임, 300만뷰 대박 '추노' 비하인드 공개
2
섺스하다가 제일 ㅈ같았던 기억
26
3
'6월 출산' 남보라, "난 엄마를 축하 안 했다”…13남매 母 고백에 눈물
22
4
2026년 봄/여름 패션 트렌드라는 것
29
5
성관계로 퍼지는 '희귀 곰팡이'에 美 비상…"수건 같이 쓰다가도 옮는다”
21
6
나 너무 늦게 코 블랙헤드 관리법에 대해 통달한 거 같음..ㅜ
9
7
계주 금메달리스트 김길리 인스타 스토리 업뎃
3
8
기안84 스태프, 기안의 이중적 실체 폭로.jpg
1
9
인상, 외모 보고싶으면 면접에서 보지 사진 보내라
10
INFP들 가슴 철렁이는 짤
7
11
흙수저 집안 특징이라고 올라온 짤
7
12
대한항공 오사카 심야편 취항
2
13
(🔞약후) 요즘 잘생겼다고 반응 좋은 인플루언서들..JPG
121
14
요즘 아기 태어나면 이거 해주는 집들 은근 있음.JPG
15
15
뉴질랜드 초등교사도 빡세다 함
2
16
또 레전드 찍은 오늘자 카리나
17
양배추는 신이 내린 선물 중에 하나
18
'한국인 하겠다' 중국인 귀화자 팬데믹 이후 최다
19
코인 세탁소에서 목격했던 사건
4
20
어제자 카리나 인스타그램.jpg
1
1
내 룸메 샤워주기 봐봐
55
2
나 유명여돌이랑 사주똑같은데 40
26
3
카페인중독 두바이 와플 짱맛있오...
8
4
하객룩으로 이 옷은 너무 밝을까??
12
5
내나이 33....연애할수있을까
22
6
자소서 첫 시작 이 멘트 개오바야 ??
22
7
제미나이 진짜 똑똑해진듯…
4
8
근데 대체 이미 마른 사람들이 위고비나 마운자로 왜 맞는 거야?
6
9
헉... 수영하러왔는데 반지끼고왔다....
6
10
날씨좋다 나가라 얘들아 (미먼은..쩔수..)
3
11
나도 사주...!!신기한게 물이없다했는데
1
12
인티 하면서 느낀 점
13
사주도 끼리끼리 사이언스더라
14
이런 사주는 약간 싸가,,,ji 없거나 그래?
5
15
나 모솔인데 이거 도대체 무슨감정이야 빨리 들어와줘
9
16
초봉 2800+인센+명절 상여금이면...
1
17
이북리더기 불호였던 사람
8
18
키 160-163애들아 너네 발 사이즈 225 이지 ?
20
19
컴활1급 필기 기출풀때 안정권이였는데
15
20
집앞 편의점에서 배달 시키는데 왜 35분이나 걸리지
6
1
정보/소식
캣츠아이 마농 활동 중단
2
카르멘 실제로 보면 인도네시아 사람처럼 안 생김
11
3
민정선수 은퇴 땅땅이야??
5
4
김아랑 인스스 봤는데 현장에서 명예의 전당 꾸미는구나 ㅋㅋㅋ
1
5
아이돌들 엄청 예뻐져서 보면 다이어트 해서 그런거라던데
8
6
라이즈 진짜 대형 T그룹 답다ㅋㅋㅋㅋㅋ (좋은뜻)
1
7
손종원 셰프복에 후드집업 입고 운전하는게 왜케 좋지
1
8
원빈이 버블 진짜 대박이네ㅠㅠ 귀엽고 뭉클하고 다 해🥹
8
9
유우시는 본인이 공주인거 같소이다..
10
하이디라오 마씨 할인한다고 주변에서 연락왔다는데 멘트봐
11
미친 원빈 도쿄돔 럭드
11
12
방시혁은 여론이 안좋아진 계기가 언제부터야?
17
13
오 자고일어니니 쇼트 메달 많이 땄넹ㅜㅜ
14
사쿠야 이 릴스는 원래 저런 챌린지가 있는거야???ㅋㅋㅌㅋ
15
ㄱ
왼이 한글 창제한 포타 뭐였지???
16
16
걸그룹멤 중에 갖고 싶은 몸매 있어?
20
17
음 옆집 주말 아침이라 라면 끓여드시나보네
4
18
정보/소식
'놀라운토요일' 이용진x신기루x이재율 출격
19
ㄱ
밀담 하니까 생각난건데 12월님은 진짜 메이저 씨피였으면 엄청
20
낯가리는 익들 오프 어케 다니니 ㅋㅋㅋㄱㅋ
1
휴민트
박정민 촬영마다 무조건 10km 뛰고 촬영했대..
4
2
이사통 왜 편집됐지?
1
3
급상승
해외익 드디어 왕사남 봤다 (ㅅㅍㅈㅇ)
5
4
박지훈 사투리 고쳤다는 거 봤는데 시키니까 어색하지 않게 잘하네
12
5
윤아 버버리 가는구나
2
6
김삼순 마지막에 다니엘 헤니랑 려원이랑 이어져?
3
7
우주를줄게는 배인혁이 애기랑 케미가 더 좋다
1
8
우주를줄게
아직 안나온 우주
2
9
드라마 내부자들 뭐 떴어
1
10
채종협 박혜련이랑 한번더할수있을까
11
정보/소식
언더커버미쓰홍
박신혜 조한결 장도하, 팀 해체 후에도 위기는 계속(미쓰홍)
12
파반느 결말 뭐야
1
13
통신사앱으로 영화 예매한 거
4
14
대군부인
대군부인 네이버tv 방영시간
14
15
자체 최고 기록한 오늘부터 인간입니다만 시청률 추이
17
16
정리글
BL처돌이의 각 나라별 BL/퀴어 추천 (후방주의) (아주아주 긴글 주의) (약 스..
286
17
파반느 아이슬란드 장면 넘 예뻐..
18
정보/소식
은애도적
'은애하는 도적님아' 최종 관전 포인트
4
19
초록글 보고 궁금한게 발음 발성도 고칠수있나?
3
20
Cgv 포토티켓 해당 지점에서만
2
인스티즈앱 설치
소개
이용 문의
광고/제휴
채용
권리 침해
개인정보취급방침
(주)인스티즈 사업자등록번호 : 655-86-00876
통신판매업신고 :
2017-서울강남-03991
대표 : 김준혁
© instiz Corporation